Ai đã phát minh ra vợt muỗi? "Ngài" xứng đáng nhận một Giải Nobel Vật lý hoặc Nobel Hòa bình

Theo Thanh Long | 24/02/2025 22:30 PM | Sống

"Một đề cử giải Nobel Vật lý hoặc Hòa bình cho người đàn ông này sẽ không phải là quá đáng", Nick Thomas, giáo sư hóa học tại Đại học Auburn, Hoa Kỳ từng nhận xét.

Bạn nghe "tạch tạch tạch tạch", và rồi một mùi khen khét bốc ra khỏi đó, con muỗi đã bị nướng chín trên vợt điện bằng một dòng hồ quang phát sáng.

Đó có lẽ là cảm giác thỏa mãn nhất trong những ngày nồm ẩm này ở Miền Bắc, khi tiết trời mùa xuân tạo điều kiện cho muỗi sinh sôi nảy nở và phát triển.

Muỗi bay khắp các phòng, từ phòng ngủ, tới phòng khách, túm tụm lại trong những góc ẩm ướt của nhà vệ sinh. Trời nồm đã khó chịu thì chớ, lũ muỗi bay vo ve quanh mặt như trêu ngươi, lại càng làm bạn khó chịu hơn.

Ai đã phát minh ra vợt muỗi?

Trời nồm đã khó chịu, lại còn nhiều muỗi.

Vấn đề là, những vết đốt của muỗi không chỉ gây ngứa ngáy, chúng còn tiềm ẩn nguy cơ lây truyền đủ loại bệnh tật nguy hiểm trên đời, từ sốt rét, sốt xuất huyết cho tới viêm não.

Nếu bạn chưa biết, muỗi chính là loài động vật giết người nhiều nhất hành tinh. Mỗi năm, chúng gây ra hơn 725.000 ca tử vong do bệnh truyền nhiễm.

Trong so sánh, rắn cắn chỉ gây ra 50.000 ca tử vong mỗi năm. Chiến tranh và bạo lực giữa người với người gây ra 475.000 cái chết. Cùng lúc đó, cá mập mỗi năm chỉ cắn chết 10 người.

Vì vậy, nếu phải phạm vào đại tội sát sinh để cứu lấy loài người, và cứu lấy làn da của chúng ta khỏi bị sưng phồng, có lẽ tất cả mọi người đều đồng ý phải giết muỗi.

Ai đã phát minh ra vợt muỗi?

Muỗi là loài động vật giết người nhiều nhất hành tinh.

Chẳng trách mà trong suốt hàng triệu năm, con người đã nghĩ ra đủ mọi cách để tiễu trừ loài côn trùng gây hại này, từ sử dụng hai bàn tay đầy lông lá của mình, phe phẩy những bó xả trong gian nhà vách lá cho đến đốt hương muỗi và xịt đủ mọi loại hóa chất xung quanh vườn.

Thế nhưng, các phương pháp này, hoặc là không có hiệu quả cao, hoặc là quá độc hại để sử dụng trong những ngôi nhà ống phổ biến của thế kỷ 21.

Cho đến khi ai đó đã phát minh ra vợt muỗi điện, một thiết bị giá rẻ, hiệu quả và an toàn để diệt muỗi trong nhà, trong phòng ngủ, thậm chí xung quanh trẻ sơ sinh.

"Một đề cử giải Nobel Vật lý hoặc Hòa bình cho người đàn ông này sẽ không phải là quá đáng", như lời Nick Thomas, giáo sư hóa học tại Đại học Auburn, Hoa Kỳ từng nhận xét.

Ai đã phát minh ra vợt muỗi?

Nguyên lý hoạt động của vợt muỗi kỳ diệu đến thế nào?

Dùng vợt muỗi bấy nhiêu năm, có lẽ hiếm người trong số chúng ta để ý đến nguyên tắc vật lý đằng sau những chiếc vợt muỗi. Nhưng một khi biết đến nó, chắc chắn bạn sẽ phải công nhận:

Người phát minh ra vợt muỗi hẳn phải là một thiên tài.

Giáo sư Thomas cho biết những chiếc vợt này hoạt động dựa trên những cú giật của một dòng điện áp lên tới 2.000 V, thứ có thể làm choáng "những kẻ xâm lược có 6 chân", thậm chí nướng chín chúng.

Nhưng làm thế nào một cặp pin tiểu 3 V trong thân của một chiếc vợt muỗi lại có thể tạo ra điện áp lên tới 2.000 V trên mặt lưới?

Hóa ra, nó phụ thuộc hoàn toàn vào mạch điện đơn giản này:

Ai đã phát minh ra vợt muỗi?

Ai đã phát minh ra vợt muỗi?

Sơ đồ mạch bên trong một chiếc vợt muỗi.

Thoạt nhìn thì khá phức tạp, nhưng mạch của một chiếc vợt muỗi chỉ bao gồm 3 phần cơ bản. Phần đầu của nó là mạch sạc.

Vì vợt muỗi là một thiết bị di động, do đó, nó cần có pin sạc. Và vì nó là pin sạc nên pin này sẽ cần mạch sạc để biến nguồn điện xoay chiều AC từ ổ điện nhà bạn thành một nguồn điện một chiều DC, với điện áp thấp hơn.

Ai đã phát minh ra vợt muỗi?

Mạch sạc của vợt muỗi.

Mạch này bao gồm tụ điện, cầu chỉnh lưu và tụ làm mịn. Trong đó, tụ điện có tác dụng giảm điện áp xoay chiều (220 V) từ nguồn điện xuống còn khoảng 3 V. Sau đó, cầu chỉnh lưu sẽ chuyển dòng xoay chiều AC thành một chiều DC. Tụ làm mịn sẽ lọc các gợn sóng từ xung DC tạo ra một dòng điện mượt để sạc cho pin.

Ai đã phát minh ra vợt muỗi?

Mạch biến tần của vợt muỗi.

Phần thứ 2 là mạch dao động biến tần. Chúng ta biết pin sạc chỉ cho ra dòng điện 1 chiều DC, nhưng dòng DC không thể tăng áp lên ngưỡng 2.000 V đủ để diệt muỗi.

Do đó, vợt muỗi cần một mạch dao động biến tần để chuyển dòng DC trở lại thành dòng xoay chiều AC 220 V. Điều này được thực hiện thông qua mạch dao động biến tần này, chứa một bóng bán dẫn NPN liên tục đổi chiều của dòng điện từ cực âm sang cực dương.

Ai đã phát minh ra vợt muỗi?

Mạch nhân đôi điện áp của vợt muỗi.

Cuối cùng, sau khi dòng điện của pin đã được chuyển từ DC sang AC, nó đã có thể đi vào mạch nhân đôi điện áp. Ở đây, một loạt các diode và tụ điện sẽ làm nhiệm vụ khuếch đại điện áp của dòng điện. Mỗi một diode và tụ này sẽ nhân đôi điện áp một lần.

Khi dòng đi vào là 220 V, đi qua 3 tầng nhân đôi điện áp, nó sẽ tăng điện áp lên 2^3=8 lần. Dòng điện cao áp này sau đó được lưu trữ trong tụ, được nối vào lớp lưới ở giữa trên mặt vợt.

Bây giờ, điều kỳ diệu sẽ diễn ra.

Ai đã phát minh ra vợt muỗi?

Quan sát một chiếc vợt muỗi, bạn sẽ thấy trên bề mặt của chúng có 3 lớp lưới. Hai lớp ở ngoài có mắt to và một lớp ở giữa có mắt nhỏ. Nhưng chỉ có lớp lưới ở giữa có điện.

Khi bạn nhấn nút trên vợt, dòng điện từ trong tụ của mạch dao động sẽ được xả ra ở lớp lưới giữa. Bởi điện áp ở đây lên tới hơn 2.000 V, bạn sẽ nghe thấy một tiếng "i i" nhỏ phát ra từ đó.

Hai lớp lưới ở ngoài có nhiệm vụ bảo vệ tay bạn không chạm vào mặt lưới phía trong có dòng điện cao áp. Nhưng nó cho phép những con muỗi bay qua.

Ai đã phát minh ra vợt muỗi?

Khi những con muỗi bay vào đây, chạm vào hai bề mặt lưới. Cơ thể của nó sẽ đóng mạch điện giữa hai bề mặt lưới này, tạo ra một cú phóng điện hồ quang có thể làm ion hóa không khí xung quanh con muỗi.

Tiếng nổ "tách tách" theo sau một cú nháy sáng chính là hiện tượng phóng điện hồ quang này. Con muỗi trước hết sẽ bị sốc vì cú giật điện, sau đó, nếu bạn tiếp tục bấm nút, các bộ phận mỏng trên cơ thể nó như chân, cánh, râu sẽ bị hồ quang đốt cháy.

Cuối cùng, cả cơ thể của nó sẽ bị thiêu rụi, để lại mùi khét lẹt nhưng đầy thỏa mãn đối với bạn.

Ai đã phát minh ra vợt muỗi?

Nhưng ai là người đã phát minh ra cơ chế diệt muỗi này?

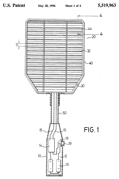
Giáo sư Thomas cho biết đó là một người đàn ông ở Đài Loan có tên là Tsao-I Shih. Ông là người đầu tiên nộp đơn lên Văn phòng Bằng sáng chế và Nhãn hiệu Hoa Kỳ (USPTO), để xin cấp bằng sáng chế cho một thiết bị vợt muỗi bằng điện vào năm 1995.

Bằng sáng chế có mã số 5519963 được cấp cho Tsao-I Shih sau 1 năm mô tả đó là một "vỉ đập côn trùng điện" có tay cầm, 3 lớp lưới khung, trong đó 2 lớp để bảo vệ và một lớp tạo ra điện áp cao đủ để tiêu diệt côn trùng.

"Mục đích của sáng chế này là cung cấp một vợt điện diệt côn trùng có nhiều lớp lưới, kích thước đủ lớn để côn trùng lọt qua nhưng đủ nhỏ để ngăn ngón tay trẻ em thò vào gây giật điện", bằng sáng chế của Tsao-I Shih viết.

Ai đã phát minh ra vợt muỗi?

Ai đã phát minh ra vợt muỗi?

Trước đó, công cụ diệt côn trùng phổ biến mà con người có thể sử dụng chỉ là những chiếc vỉ ruồi. Và so với vỉ ruồi, vợt muỗi điện có thể diệt được cả muỗi và ruồi một cách rất sạch sẽ.

Thiết bị mới này không làm nát xác côn trùng, không làm bẩn các bề mặt như khi sử dụng vỉ đập. "Một mục đích khác của sáng chế này là cung cấp một chiếc vợt điện diệt côn trùng, có khả năng giết chết mà không làm tan rã côn trùng và gây bừa bãi", sáng chế viết.

"Cuối cùng, chiếc vợt này được cấp nguồn bằng pin nên không cần phải cắm nó vào nguồn điện xoay chiều".

Nguồn điện trong vợt cũng được kiểm soát một cách rất cẩn thận. Ví dụ như giới hạn về điện tích ròng được lưu trữ trong tụ điện. Một lần xả của nó phải nhỏ hơn 45 microcoulomb (μC) với giới hạn dòng dưới 5 miliampe (mA) được coi là an toàn, ngay cả trong trường hợp bạn vô tình chạm vào nó, và có một dòng điện từ vợt muỗi chạy từ tay này sang tay kia, một phần đi qua tim của bạn.

Ai đã phát minh ra vợt muỗi?

Với tất cả sự kỳ diệu này của vợt muỗi, chúng ta đã có thể trao giải Nobel cho Tsao-I Shih được chưa?

Câu trả lời là: Chưa! Hãy đợi một chút!

Hóa ra, cũng giống như nhiều phát minh khác, bằng sáng chế vợt muỗi cũng là một chủ đề gây tranh cãi. Một số tài liệu cho thấy một phiên bản vợt muỗi đơn giản hơn hóa ra đã được đăng ký bằng sáng chế tại Trung Quốc sớm hơn tại Mỹ tới 8 năm.

Nó được cấp cho một người đàn ông tên là Từ Hồng Chí vào năm 1988.

Câu chuyện về phát minh của Từ Hồng Chí bắt nguồn từ năm 1986, khi ông mở một xưởng sản xuất ốc vít ở Trung Quốc. Trong khi dọn cỏ xung quanh xưởng của mình để ngăn cỏ cháy gây hỏa hoạn, Từ Hồng Chí đã bị muỗi đốt khắp người.

Nhưng ông phát hiện ra trong đám cỏ đuôi cáo mà mình cắt đi, có một số con muỗi đã bị chết khi mắc vào những sợi lông dày đặc của loại cỏ này. Thế là Từ Hồng Chí nảy ra một ý tưởng, ông gắn cỏ đuôi cáo lên vợt cầu lông và cứ thế khua đi khua lại trong bụi rậm để bắt muỗi:

Ai đã phát minh ra vợt muỗi?

Ai đã phát minh ra vợt muỗi? "Ngài" xứng đáng nhận một Giải Nobel Vật lý hoặc Nobel Hòa bình- Ảnh 16.

Chiếc vợt muỗi đầu tiên trong lịch sử này tỏ ra có hiệu quả. Nhưng vì cỏ đuôi cáo không thể sản xuất hàng loạt và không đủ bền, phát minh của Từ Hồng Chí đã không thể thương mại hóa.

Một bước ngoặt xảy ra sau đó, khi ông nảy ra ý tưởng nối điện vào một mặt vợt bằng kim loại để diệt muỗi. Một người bạn là kỹ sư đã hợp tác với Từ Hồng Chí và bộ đôi đã tạo ra chiếc vợt muỗi bằng điện đầu tiên.

Chiếc vợt này đã được đăng ký bằng sáng chế vào năm 1989 ở Trung Quốc. Nhưng cuối cùng vì nhiều nguyên nhân không rõ, nó đã không được sản xuất hàng loạt và thương mại hóa:

Ai đã phát minh ra vợt muỗi?

Ai đã phát minh ra vợt muỗi?

Tóm lại, những chiếc vợt muỗi mà chúng ta thấy ngày nay chỉ trở nên phổ biến vào cuối thập niên 1990, sau khi chúng được sản xuất dựa trên bằng sáng chế tại Mỹ của Tsao-I Shih.

Do đó, nếu có một "giải Nobel trong lòng người hâm mộ" thực sự được trao cho phát minh này, có lẽ nó nên được chia đều cho cả Tsao-I Shih và Từ Hồng Chí, mỗi người một nửa vì những tiếng "tạch tạch" đầy thỏa mãn mà phát minh của họ tạo ra.

Sau đó, một con muỗi sẽ bị đốt cháy trong ánh sáng hồ quang khét lẹt, mang theo những mầm bệnh nguy hiểm mà nó có thể lây lan, cùng đi xuống địa ngục.



Theo Thanh Long

Cùng chuyên mục
XEM